製品情報
多信号入出力機器コントローラー用FPGAボード(SPMU-004)

- 多信号入出力機器コントローラー用FPGAボード
・SPMU-004は東京大学カブリ数物連携宇宙研究機構(Kavli IPMU)と共同開発した
多信号入出力機器コントローラー用FPGAボードです。
・多信号を接続可能な0.25mmピッチの小型細線同軸ケーブルコネクタを採用しています。
・128MバイトのDRAMと1Gbit Etherを搭載し高速転送が可能です。
CPU-
- 製品イメージ
- 仕様
- ドキュメント
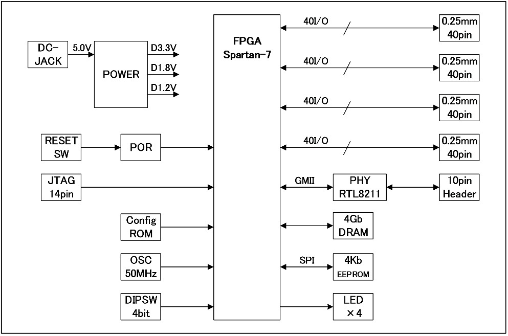
システム構成図
FPGA ・XC7S100-1FGGA484C
ロジックセル:10240
ブロックRAM:120個(36Kbit)
最大シングルエンドI/O:400
最大差動I/Oペア:192
外部メモリ ・DDR2メモリ :128Mバイト
・SPI-EEPROM:512バイトI/O ・GigaBit Ether: 1ポート
・シングルエンドI/O数: 160bit(LVCMO18)
・汎用LED: 4bit
・汎用DIPSW:4bit
電源 ・電圧:+5V
・電流:T.B.D.動作温度 ・0℃~50℃ ボードサイズ ・85mm×56mm (突起物除く) パンフレット _JP
SPMU-004_J.pdf
